产品类别
 ○ 电控起重永磁铁
 ○ 起重永磁铁
 ○ 永磁起重器
 ○ 永磁吸吊器
 ○ 永磁除铁器
 ○ 起重电磁铁
 ○ 电缆卷筒
 ○ 磁力工装
  联系方式  
 地址:岳阳市君山区康福路
 电话:0730-8116666 8116002
 传真:0730-8116999
 邮箱:yyyongjin@163.com

 

 □ 当前位置:首页 > 产品目录 > 磁力工装
轻型磁力压码

用途

主要用来消除待铆焊工件之间的间隙。

产品特点

※ 磁力超强、定位可靠。
※ 无需辅助点焊定位固定,不会因辅助施工对板材造成伤害、同时节省了处理辅助施工耗费的时间。
※ 结构轻巧、操作简便快捷。
※ 维护方便、节能环保。

使用步聚

依型材高度适取合适门架高度
→将磁力压码摆放到工作位置
→摆正让压头中心对正型材中心
→操作手柄上磁,吸力面贴紧板件
→操作棘轮扳手提升板件至与型材零间隙
→铆接或焊接固定。

应用领域

广泛应用于造船、工程机械、钢结构件、大型机械制造等行业。

  轻型磁力压码
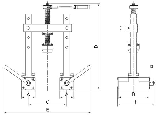
轻型磁力压码结构简图

轻型磁力压码结构简图

 
轻型磁力压码规格参数表
轻型磁力压码规格参数表
 
版权所有 © 湖南永金磁力设备股份有限公司
地址:湖南省岳阳市君山区康福路  电话:0730-8116666 8116002  传真:0730-8116999  邮箱:yyyongjin@163.com